传输层协议主要有两个:TCP(传输控制协议)和UDP(用户数据报协议)。
下面我们就一起对TCP和UDP进行详细的了解。
1、TCP协议
TCP协议介绍:TCP是面向连接的、可靠的进程到进程通信的协议。TCP提供双全工服务,即数据可在同一时间双向传输,每一个TCP都有发送缓存和接收缓存,用来临时储存数据。
TCP报文段:
TCP将若干个字节构成一个分组,称为报文段。TCP报文段的首部格式图如下图所示。

源端口号:发送方对应的端口号。
目的端口号:接收方的端口号,接收方通过这个端口号来确定把数据送给哪个应用。
序列号:TCP对从进程中接收到的字节进行编号,为的是当数据到接收端时,接收端可以按照这个于浩把数据进行重组,保证数据的正确性。
确认号:确认号是对发送端确认信息的,由他来告诉发送端这个序号之前的数据都已经收到了。
首部长度:首部数据结构的长度。
保留:目前还没有用到该功能,留作以后作为拓展功能用。
UGR:紧急指针有效位,可不经过缓存直接传给应用。
ACK:确认标志,确认标志栏有效。
PSH:标志位为1时要求接收方尽快将数据段送达应用层,但还是需要经过缓存。
RST:重新建立TCP连接。
SYN:建立TCP连接。
FIN:断开TCP连接。
窗口值:本地可接收数据段的数目,这个值大小是可变的。窗口值越大传输速率越快,反之则越慢。
校验和:用来做差错控制,若接收端的校验结果与发送端一致,则说明数据是正确的,反之则说明数据受到了破坏,接收端将会抛弃这段数据。
紧急指针:与URG配合使用。
选项:TCP首部的可选信息,例如创建该数据的时间等。
TCP连接
TCP建立连接的过程又称为TCP三次握手。

第一次握手:建立连接时,客户端发送syn包(syn=j)到服务器,并进入SYN_SENT状态,等待服务器确认。
第二次握手:服务器收到syn包,必须确认客户的SYN(ack=j+1),同时自己也发送一个SYN包(seq=k),即SYN+ACK包。
第三次握手:客户端收到服务器的SYN+ACK包,向服务器发送确认包ACK(ack=k+1)。
三次握手完成,此时客户机与服务器进入TCP连接成功状态。这时客户机就可以与服务器互传数据了。
当然这个过程我们也可以看做两个人之间的一次对话开始的建立。
第一次握手 甲:某某在吗?
第二次握手 乙:在啊,你有什么事吗?
第三次握手 甲:我有什么什么是找你。
当然可能并不能完全把TCP三次握手详细的表示出来,但过程我们可以近似这样来看待,方便我们的理解。
TCP连接终止
参加数据连接的任何一方都可以关闭连接,TCP断开连接也被称为TCP四次握手。

第一次握手:主动中断方向另一方发送FIN和ACK位置1的TCP报文段。
第二次握手:被动的一方向主动断开的一方返回ACK位置1的TCP的报文段。
第三次握手:被动方向主动断开的一方发送FIN和ACK位置1的TCP报文段。
第四次握手:主动断开的一方向另一方返回ACK位置1的TCP报文段。
为什么TCP建立只需要三步反而断开却要四步?
因为假如A和B要断开连接,这时A会向B发送FIN,B收到后就会回复ACK,但有可能B还有数据未传输完成,所以ACK和FIN并没有一起回复给A,等到B的数据传输完成后,才会发送FIN给A,A收到B的FIN回复ACK这时双方就断开连接了,这也是为什么断开为什么比建立要多一步。
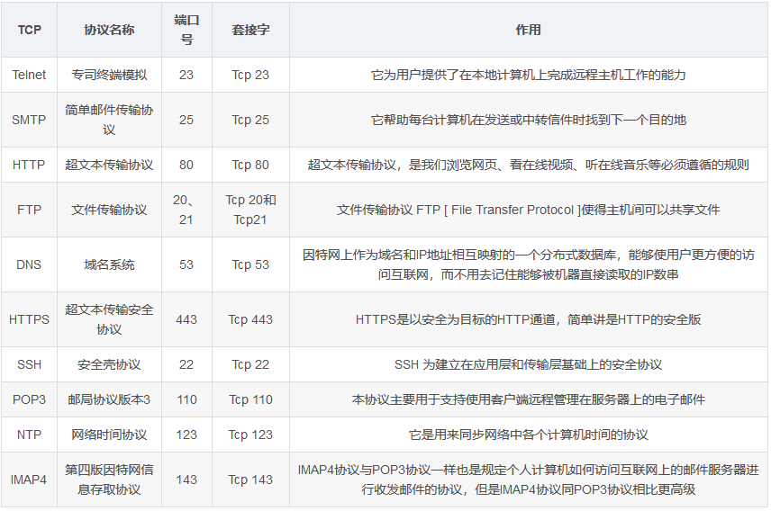
TCP端口及其应用

UDP协议
UDP是一个无连接、不保证可靠性的的传输协议,他与TCP都处于传输层,虽然它并不能保证可靠性,但它在数据传输过程中延迟小、数据传输效率高。
UDP端口及其应用
